by , , Staff Writer @lauriesullivan, (June 11, 2016)

During an off-the-cuff conversation about what Apple might announce this coming week at its developers conference, Fluent CMO Jordan Cohen said he hopes to hear about flying cars. “I’ve always wanted one,” he said.

Well, Cohen might get his wish. Apple is not behind the technology, but rather Google co-founder Larry Page. Let’s make this clear. Citing two people familiar with the firms, Bloomberg reports that Page is privately funding two flying-car companies — Zee.Aero with about 150 employees, and a smaller startup called Kitty Hawk that is developing its own design for a flying car. The two companies are not connected with Google in any way other than the Google co-founder funding the projects.

Zee.Aero is one part of Page’s plan to usher in an age of personalized air travel, free from gridlocked streets and the cramped indignities of modern flight, per Bloomberg. Similar to Jeff Bezos and Elon Musk, as the article points out, Page will use his personal fortune to build the future of his childhood dreams of which he shares with others like Cohan.

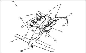
Zee.Aero has a handful of searchable patent applications and pending with the U.S. patent office. Most are related to personal aircraft and “a lift fan mechanism” that can lift the vehicle off the ground like a helicopter, rather than a plane.

Page, Google co-founder and Zee.Aero fiancee, might be the only connection linking the two companies, but that’s enough when you think about the integration of artificial intelligence and mapping technology that the Alphabet companies offers.  

As I told Cohen on the phone, his mention of flying cars reminded me of the time Sir Richard Branson, who had previously founded Virgin Atlantic airlines, took to the stage April 1, at CES and asked for volunteers to go to Mars. It was prior to announcing Virgin Galactic. He had plans to build a manned rocket and charge consumers for commercial flights to go beyond the Earth’s atmosphere.

 

MediaPost.com: Search Marketing Daily

(42)

Author: admin
Device Daily Photo